产品中心
Product Center

BFZ、BYZ型铸铁镶铜闸门、滑阀

查看:322 次

1、通径内水流无阻,几乎无水流损失。

2、主体材料为灰铸铁(或球铁)经过内应力消除,经久耐用无变形。

3、结构强度针对不同水压而定,适用性广、经济耐用。

4、采用精密加工的青铜硬止水密封,摩阻小、耐磨且密封效果好。渗水量一般小于0.72L/min(正向)和1.25L/min(反向)。

5、结构形式全,适合多种洞口或渠道的安装使用

咨询详情
0514-80296888
15800999622
产品详情

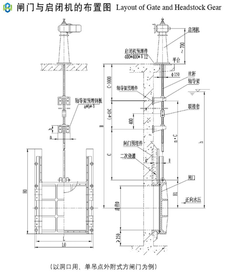
外形结构

技术参数

订货须知
订货时应对照安装及结构形式,详细注明型号及规格。
样本中铸铁闸门数据对应正向承压水头10m,所有正向承压闸门的反向承压计算值为2.5m,超出压力范围均要应特殊订货。
闸门门体及门框材料一般用灰铸铁制造,密封面为锡青铜,若需要球墨铸铁或不锈钢,应注明具体要求。
除滑阀外,闸门配套用:启闭机、丝杆、轴导架、电控箱及所有预埋件应另外订货。
暗杆闸门和滑阀主要表现在法兰尺寸和启闭形式不一样,订货时以名称作为区别,配套手轮或联接法兰均需另订。
渠道用铸铁闸门(预留槽浇嵌式),应另索资料,商量订货。
任何与本资料不相吻合的改动订货,订货时均需提供相应的土建资料。
双吊点闸门一般用于B>2.5m,且B/A>1.5场合。
【扫一扫企业微信】
24小时服务热线:
0514-8029 6888
158-0099 9622
邮箱:bwogroup@163.com
地址:江苏省扬州市经济技术开发区画舫路65号
Copyright © 2024 江苏宝蛙环保集团有限公司 版权所有 All rights reserved 备案号:苏ICP备2024073741号-1